
ऑटो डेस्क। पूरी दुनिया में आईफोन, लैपटॉप और दूसरे इलेक्ट्रानिक आयटम्स पर धाक जमाने वाली यूएस की टेक दिग्गज कंपनी ऐप्पल पूरी तरह से इलेक्ट्रिक और सेल्फ-ड्राइविंग कार पर तेजी से काम कर रही है। ऐप्पल की अपनी कार के लिए दी गई नई पेटेंट स्केच लीक हुई है, इ्ससे पता चलता है कि यह सनरूफ के साथ आएगी। टेक कंपनी पिछले कुछ सालों से कई कार निर्माता कंपनियों के साथ बातचीत कर रही है, जिनमें Hyundai और Nissan शामिल हैं।
ये भी पढ़ें- Tata Motors ने CNG कारों की सेल के लिए तय किया बड़ा लक्ष्य, इतने फीसदी की बढ़ोतरी का लगाया अनुमान
अब Apple अपने प्लेटफॉर्म पर बनायेगी कार
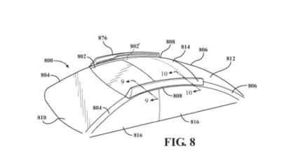
ताजा अपडेट में ये बात सामने आई है कि इसकी संभावना अधिक है कि Apple अब खुद ही पूरा प्रोजेक्ट करे। सनरूफ पेटेंट का जो स्केच लीक हुआ है, वह साल 2016 का है, इसके पश्चात साल 2020 में इसमें कुछ संशोधन किए गए हैं। नवीनतम डिजाइन में कुछ भी नया नहीं है, लेकिन इसमें अब लेटेस्ट तकनीक का इस्तेमाल किया गया है।
स्पेशल सनरुफ दिया जायेगा
नवीनतम डिज़ाइन का स्केच कुछ विशेषताओं को प्रकट करता है, हालांकि ये टेक्नीक मौजूदा कार मॉडलों में दी जा रही है। सनरुफ वैकल्पिक है, इसे ठोस छत में भी बदला जा सकता है। Apple की कार प्रोडक्शन में एंट्री करने जा कहा है। वहीं Apple ही नहीं एक अन्य टेक दिग्गज Google भी काफी समय से एक कार प्रोजेक्ट पर काम कर रहा है।
ये भी पढ़ें- ‘You Just Can't Beat a Bajaj’, राहुल बजाज ने टीचर्स से कहा फिर करके दिखाया, 820 करोड़ की नेटवर्थ
कैबिन में मिलेगी ज्यादा जगह
Apple कार के सनरूफ के बारे में दावा किया जाता है कि यह लाउंज जैसा अनुभव देगा, कंपनी इस पर बहुत फोकस कर रही है। Apple कार के केबिन के अंदर अधिक जगह के साथ आने की संभावना है और यह बिना किसी अतिरिक्त प्रयास के उपलब्ध कराई जाएगी। Apple कार पूरी तरह से सेल्फ-ड्राइविंग तकनीक (fully self-driving technology) सुनिश्चित करते हुए, स्तर चार या स्तर पांच की स्वायत्तता (autonomy) प्रदान करेगी।
Apple, दुनिया की प्रमुख प्रीमियम टेक कंपनियों में से एक होने के नाते, तकनीक-संचालित प्रीमियम मोबिलिटी अनुभवों की मेजबानी करने का लक्ष्य रखता है। लॉन्च होने पर, ऐप्पल कार टेस्ला से मुकाबला कर सकती है, टेस्ला ने खुद को एक प्रीमियम तकनीक-संचालित कार निर्माता (premium tech-driven carmaker) के रूप में स्थापित किया है, दोनों कंपनियां green mobility के साथ ग्राहकों को एक लग्जरी और प्रीमियम रेंज उपलब्ध करायेंगी।
ये भी पढ़ें- DTC और क्लस्टर बसों के लिए महिला ड्राइवरों को तय मानदंडों में ढील, 3 साल की बजाए 1 महीने का Experience चलेगा
Car news in Hindi: Read latest car launches news, car reviews, specifications, On Road & Exshowroom price news - Asianet News Hindi